Matrox
Illuminator-16/MC
@80EE.ADF ILLUM-16/MC Video Graphics
Board
NOTE: I have seen ONE
period article that said this adapter has a TMS34010, yet
there is NO ceramic chip with a golden heat spreader. I have
never seen a plastic-cased TMS34010.
adi2_0.zip ADI rendering driver
loadtga.exe Load a TGA file with
this executable
multiple.zip Run two
Illuminator-16's in the same PC
util204.zip Illuminator-16
Utilities version 2.04
videostb.zip Illuminator
Interpreter for DOS (ILUMTOOL)
win31drv.zip Windows 3.1 drivers
winovly.zip Windows Overlay
drivers
Matrox Personal Producer - Illuminator
Matrox Personal Producer - Illuminator 16 Video Graphics
Board - Desktop Video Revolution
The
OS/2 Display Driver Zoo By Michal Necasek [Scroll down
to "Matrox Mystery"]
W31_WOLVES.7z Matrox WOLVES
interface [Nov 1990]
NOTE: There
might be an OS/2 version as well
OS/2 WOLVES.H From Michal Necasek
[no other documentation exists...]
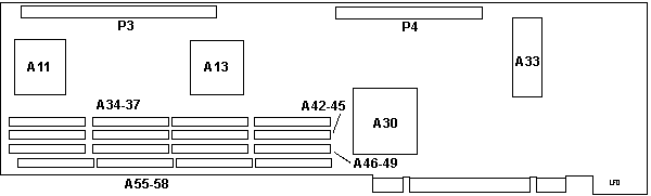
Illuminator Base Adapter

A11,13
VSDP/O
A30 VIC/O
A33 BIOS ROM?
669.3 |
A34-37,42-49,55-59
TC524256Z-10
P3 72-pin header
P4 54-pin header |
Folks, there is no documentation on the big ASICs. My SWAG
is A11/A13 are Video Serializer, Palette, DACs [?]. VIC/O
interfaces to the Micro Channel bus [?]
The VRAM rows run horizontally.
Top row A34-37, second row A42-45, third row A46-49, bottom
row A55-58
Illuminator Daughter Card

A1
CA3183E
NPN HV Xsistor Array
A5,10 NEC
D42101C-3
A6 Bt PS00024
Unk
A7 Bt471KPJ35
RAMDAC
A8 Bt101KPJ VIDEODAC
A11 TDA3566
PAL/NTSC Decoder
A23 CA3083 HiCurrent
NPN Xsistor Array
|
J1
DE9 video connector
J2 HD15 video
connector
P2 54-pin header
P3 72-pin header
RV1-6 Unk,
Reference Voltage ?
X1 7.15909 MHz
xtal
X2 28.63636 MHz
osc
|
BrookTree
Application Notes 01-11
VIDEODAC lacks a LUT, RAMDAC has a LUT [I think...]
AdapterId 80EE
ILLUM-16/MC Video Graphics Board - REV 1.0
; There are 3 pos registers to program on the Illuminator
NumBytes 3
; now we make sure the ROM protect is on, The Y axis is
correct, The TARGA access is OK. These will be
re-programmed by the BIOS but I want to make sure.
FixedResources pos[1]=XX1101XXb
CARD address
Select where the Illuminator card is going to
be decoded. If more than one card is put in a system, all
cards should be placed at different addresses. If it's not
possible to put all cards at different addresses, then
only one should be decoded and extra cards should have
this option set to Disable card decoding.
<"Card
segment at CC00h" (CC00-CFFF)>, C000
(C000-C3FF), C400 (C400-C7FF), C800 (C800-CBFF), D000
(D000-D3FF), D400 (D400- D7FF), D800 (D800-DBFF), DC00
(DC00-DFFF), Disable card decoding
I/O address
Where the I/O registers are going to be
decoded. If more than one card is put in a system, all
cards should be placed at different I/O addresses.
<"Disable I/O accesses">, (not sure if
this is the default)
200h (0200-0205, 0600-0603, 0A00-0A03,
0E00-0E03), 210h, 220h, 230h, 240h, 250h, 260h, 270h,
280h, 290h, 2A0h, 2B0h, 2C0h, 2D0h, 2E0h, 2F0h
NOTE: Each I/O
Address has FOUR memory ranges, 02xx, 06xx, 0Axx, 0Exx
frame buffer configuration
Where the frame buffer of the Illuminator
card is going to be decoded. If more then one card is put
in a system, all cards should be placed at different
addresses. If it is impossible to place them all at
different addresses then only one of the cards should have
it's frame buffer programmed. Set extra cards to No frame
buffer.
NOTE: Buffers
come in pairs of 4K, 8K, 16K, 32K, 256K, 512K, 1MB, 2MB
Disable buffers
4k - A000, A400, A800, AC00, B000
8k - A000, A400, A800, AC00, B000, B400, C000, C400,
C800, CC00, D000, D400, D800, DC00
16k - A000, A800, B000, C000, C800, D000, D800
32k - A000, C000, D000
256k - 10000, 20000, 30000, 40000, 50000, 60000, 70000,
80000, 90000, A0000, B0000, C0000, D0000, E0000
512k - 10000, 20000, 30000, 40000, 50000, 60000, 70000,
80000, 90000, A0000, B0000, C0000, D0000, E0000
1M - 20000, 40000, 80000, A0000, C0000, D0000
2M - 40000, 80000
Interrupt select
Interrupt line used by the Illuminator
<"
disable interrupts">, 11, 12, 15
|