 
| 116.450 bytes | 
 Service Hints & Tips | Document ID: GSMH-3C4CLS | 
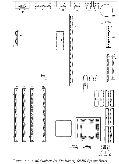
PS/1 - System Board Layout 486SX 33MHz
Applicable to: World-Wide
 
To view the Processor Jumper Settings for J23/24/25, please Double Click here:- 

| Search Keywords |  | |
| Hint Category | Hardware Installation/Configuration, System Boards, Jumper/Switch Settings | |
| Date Created | 30-11-95 | |
| Last Updated | 17-12-98 | |
| Revision Date | 17-06-99 | |
| Brand | IBM Aptiva | |
| Product Family | PS/1 | |
| Machine Type | 2133, 2168 | |
| Model | Various | |
| TypeModel |  | |
| Retain Tip (if applicable) | N/A | |
| Reverse Doclinks |