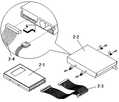
Assembly 2: Aptiva Type 2187 - Diskette, Hard Drive


Assembly 2: - Aptiva Type 2187 - Diskette, Hard Drive