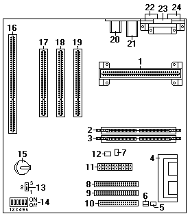
PC 300 - 6267, 6277, 6287 - Celeron™ - System Board Layout


PC 300 - 6267, 6277, 6287 - Celeron™ - System Board Layout

 

Celeron™ - Processor Board - I/O Connectors