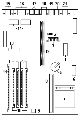
System Board Type 8639 (FRU 93H1758)