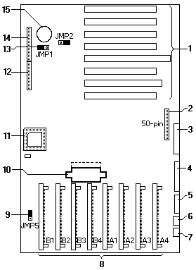
Server 85 (8595) System Board Locations