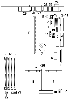
PC-365 (6589) System Board Locations