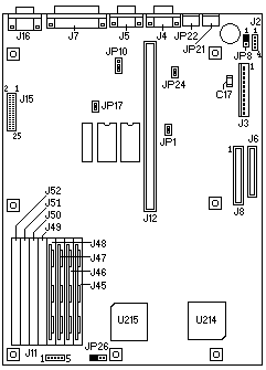
6384 425SX System Board Locations