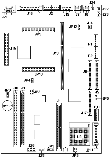
2161, 2162 Aptiva SL-A System Board