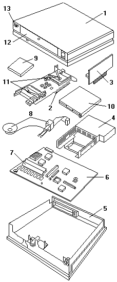
9533 Parts