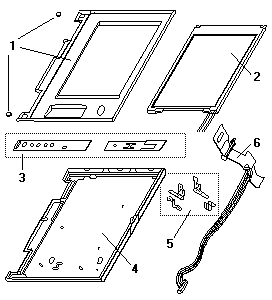
LCD Unit Parts


LCD Unit Parts - WorkPad z50 - 2608-1Ax