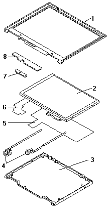
LCD 13.3-inch XGA TFT - Parts List - (ThinkPad 570 Type 2644)


LCD 13.3-inch XGA TFT - Parts TP 570 - 2644