Rear View (TP 600/600E - 2645)


Rear View (TP 600/600E - 2645)

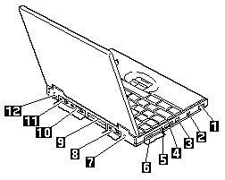
  1.  LCD Latch
  2.  Security Keyhole
  3.  Modem Port
  4.  Power Switch
  5.  Reset Switch
  6.  Universal Serial Bus Connector (USB)
  7.  AC Adapter Jack
  8.  Serial Connector
  9.  System Expansion Connector
  10.  Parallel Connector
  11.  External Monitor Connector
  12.  External-Input-Device Connector


 


Please see the LEGAL  -  Trademark notice.
Feel free - send a Email-NOTE  for any BUG on this page found - Thank you.